Flow computer with temperature output - 4 to 20mA VCAx-T
Delivery time: 4 weeks
VCAX-T
Individual request
Is your specific configuration not listed, are you looking for a special solution or do you need large quantities? Our team is looking forward to your individual task.
Please write to us.Functional description
The smart VCAx-T flow computer has been designed to withstand the extreme temperature, vibration and shock levels of automotive test applications. The VCA-T can be powered directly from the vehicle battery, even during the start cycle. It is suitable for flow measurements where temperature cannot be controlled and reliable high performance measurement is required. Thanks to its compact housing, it offers an ideal integration into the engine compartment.
The VCAx-T is featuring an automatic sensor identification. As soon as a VCT series high precision turbine meter is connected, the VCAx-T flow computer will be configured automatically and is ready to operate immediate (hot-plug). Up to 10 media characteristics (viscosity/temperature) can be stored for viscosity compensation. The actual fluid can be be selected wireless by using an RFID tag. Turbine frequency and fluid temperature is measured simultaiously. The VCAx-T flow computer is processing data in real time. VCT turbine meter is linearized, viscosity-compensated and analogue current output signals are set to the corresponding values. Integrated TEDS memory provides default data for automatic configuration of connected data acquisition systems. That makes it more economic and simplifies the measurement setup.
Product details
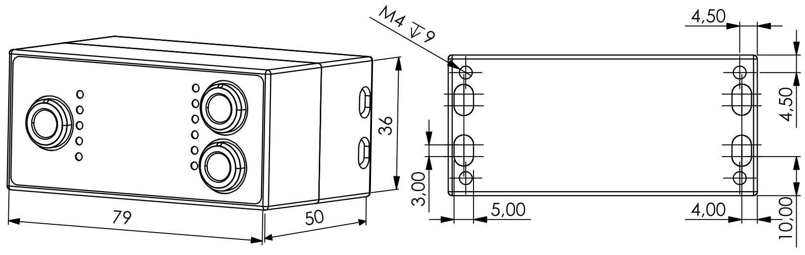
Dimensions (mm)





